FGFB型矩形波紋補償器屬于一種補償元件。利用其工作主體波紋管的有效伸縮變形,以吸收管線、導管、容器等由熱脹冷縮等原因而產生的尺寸變化,或補償管線、導管、容器等的軸向、橫向和角向位移。矩形波紋補償器也可用于降噪減振。在現代工業中用途廣泛。作為敏感元件、減震元件、補償元件、密封元件、閥門元件及管路連接件,廣泛應用于自動控制和測量儀表、真空技術、機械工業、電力工業、交通運輸及原子能工業等領域。
【產品名稱】:FGFB型矩形波紋補償器
【產品別名】:矩形波紋補償器
【產品規格】:【DN300mm-DN2000mm】
【產品】:
【適用范圍】:【弱酸、弱堿、弱腐蝕類、油、熱水、冷水等】
【產品材質】:碳鋼,球墨鑄鐵,不銹鋼.
【產品顏色】:藍色,可根據客戶要求調色.
【工作溫度】:-40度至80度
在線咨詢
購買熱線: 021-622-00727
熱力管線在施工中因為不可避免地會產生不同程度的同心度偏差或敷設應力,從而使運行中的熱力管線嚴重偏離設計位置,因此導致波紋管補償器在運行中受到不同程度的彎曲應力,影響波紋補償器的正常工作,甚至縮短波紋補償器的使用壽命,給熱力管線的安全運行留下了隱患。避免波紋補償器受到彎曲應力的破壞,是熱力管線施工中不可忽視的關鍵環節。
1.在管道穿越基礎梁或地下室墻的時候,為了避免基礎的沉降對管道的壓力,需要安裝方形補償器。
2.在熱力管道過長的情況下,需要安裝方形補償器來減小熱漲冷縮對管道的拉伸。
3.FGFB矩形波紋補償器采用奧氏體不銹鋼材料或按用戶要求的材料制造,具有優良的柔軟性,耐蝕性,耐高溫性(-235℃ ~ +450℃),在管路中可對方向進行連接,用以溫度補償和吸收振動、降低噪聲、改變介質輸送方向、消除管道間或管道與設備間的機械位移等
當日,在哈密市石城子干渠青年渠施工現場,施工人員利用挖掘機將泄水涵管從青年渠底部穿過。
據了解,城北防洪建設工程是哈密市今年的重點水利項目,項目計劃投資1200萬元,工程防洪標準為20年一遇。工程可將石城子河道下泄洪水經過分流減小洪峰流量,通過新建分水口、防洪堤及節制分水閘等建筑物,結合下游已建防洪堤及泄洪渠將洪水分別導入下游312國道北側多個砂石料魚鱗坑進行滯洪,待洪水沉淀穩定后,再采用引水管道及水泵抽水設施將魚鱗坑內蓄水分別泄入泄洪渠,蓄水通過河道流經哈密市引南增水、人民公園、廣東路南側健身廣場等地,很后匯入花園鄉水庫。
上海駱盈生產的矩形波紋補償器FGFB矩形波紋補償器采用奧氏體不銹鋼材料或按用戶要求的材料制造,具有優良的柔軟性,耐蝕性,耐高溫性(-235℃ ~ +450℃),在管路中可對方向進行連接,用以溫度補償和吸收振動、降低噪聲、改變介質輸送方向、消除管道間或管道與設備間的機械位移等,該產品的安裝能夠大大減低管道運行過程中出現事故的幾率。
據項目負責人、哈密市水利規劃勘測設計隊副隊長劉海濤介紹,青年渠承擔著哈密兵地農業灌溉的重要任務,為了不影響春耕灌溉用水,哈密市提前啟動了青年渠段泄水管穿越工作,保證渠道在春灌期間的正常運行。
工程建成后將防范山區的融雪、暴雨、戈壁暴雨洪水及水庫下泄洪水,保障哈密市區和周邊城郊鄉鎮、團場群眾的生命和財產安全,并補充下游生態用水。

請點擊圖片看大圖
| 序號 | 名稱 | 數量 | 材質 |
| 1 | 波紋管 | 1 | 不銹鋼304,不銹鋼316 |
| 2 | 端接管 | 2 | QT400-15,Q235A,ZG230-450,20 |
| 3 | 限位螺栓 | n | q235A,35,1Cr8Ni9Ti |
| 4 | 螺母 | 4n | Q235A,20,1Cr8Ni9Ti |
| 5 | 內套筒 | 1 | QT400-15,Q235A,ZG230-450,20 |
請點擊圖片看大圖
|
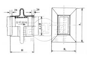
公稱通徑 Nominal Diameter DN |
A | B | A1 | H | B1 |
重量 Weight kg |
| 300*400 | 300 | 400 | 609 | 286 | 709 | 23 |
| 300*500 | 500 | 809 | 25.7 | |||
| 300*600 | 600 | 909 | 28.5 | |||
| 300*700 | 700 | 1009 | 31.2 | |||
| 400*500 | 400 | 500 | 709 | 286 | 809 | 28.5 |
| 400*600 | 600 | 909 | 31.2 | |||
| 400*700 | 700 | 1009 | 34.1 | |||
| 400*800 | 800 | 1109 | 36.8 | |||
| 500*600 | 500 | 600 | 809 | 286 | 909 | 34.1 |
| 500*800 | 800 | 1109 | 39.6 | |||
| 500*900 | 900 | 1209 | 42.4 | |||
| 500*1000 | 1000 | 913 | 1413 | 69 | ||
| 600*700 | 600 | 700 | 909 | 286 | 1009 | 39.6 |
| 600*800 | 800 | 1109 | 42.4 | |||
| 600*900 | 900 | 1013 | 1313 | 69 | ||
| 700*500 | 700 | 500 | 809 | 286 | 1009 | 36.8 |
| 700*700 | 700 | 1009 | 42.4 | |||
| 700*800 | 800 | 1113 | 1213 | 69 | ||
| 800*800 | 800 | 800 | 1213 | 73.1 | ||
| 800*1200 | 1200 | 1613 | 90 | |||
| 800*1600 | 1600 | 2013 | 106.8 | |||
| 900*400 | 900 | 400 | 709 | 1209 | 39.6 | |
| 900*700 | 700 | 1113 | 1313 | 73.1 | ||
| 900*1200 | 1200 | 1313 | 1613 | 94.1 | ||
| 1000*600 | 1000 | 600 | 1013 | 286 | 1418 | 73.1 |
| 1000*700 | 700 | 1113 | 77.4 | |||
| 1000*800 | 800 | 1213 | 81.5 | |||
| 1000*1000 | 1000 | 1413 | 90 | |||
| 1200*600 | 1200 | 600 | 1013 | 286 | 1613 | 81.5 |
| 1200*700 | 700 | 1113 | 85.7 | |||
| 1200*800 | 800 | 1213 | 90 | |||
| 1200*1000 | 1000 | 1413 | 98.3 | |||
| 1200*1200 | 1200 | 1613 | 106.8 | |||
| 1400*700 | 1400 | 700 | 1113 | 286 | 1813 | 94.1 |
| 1400*800 | 800 | 1213 | 98.3 | |||
| 1400*900 | 900 | 1313 | 102.5 | |||
| 1400*1000 | 1000 | 1413 | 106.8 | |||
| 1400*1200 | 1200 | 1613 | 115 | |||
| 1500*800 | 1500 | 800 | 1213 | 286 | 1913 | 102.5 |
| 1500*900 | 900 | 1313 | 106.8 | |||
| 1500*1000 | 1000 | 1413 | 110.9 | |||
| 1500*1200 | 1200 | 1613 | 119.3 | |||
| 1600*1000 | 1600 | 1000 | 1413 | 411 | 2013 | 115 |
| 1600*1200 | 1200 | 1613 | 123.5 | |||
| 1600*1400 | 1400 | 1813 | 131.9 | |||
| 1600*1600 | 1600 | 2013 | 140.3 | |||
| 1800*900 | 1800 | 900 | 1313 | 286 | 2213 | 119.3 |
| 1800*1000 | 1000 | 1413 | 123.5 | |||
| 1800*1200 | 1200 | 1613 | 131.9 | |||
| 1800*1400 | 1400 | 1813 | 140.3 | |||
| 1800*1800 | 1800 | 2213 | 157.1 | |||
| 2000*1000 | 1990 | 1000 | 1413 | 286 | 2403 | 130.8 |
| 2000*1300 | 1300 | 1113 | 143.4 | |||
| 2000*1600 | 1600 | 2013 | 155.9 | |||
| 2000*1800 | 1800 | 2213 | 164.4 | |||
| 2000*2000 | 2000 | 2413 | 172.8 |
專業制造、專業服務,駱盈為你創造更多價值 !
不斷提升服務質量,精益求精,“真誠的服務”是駱盈永恒的主題。駱盈嚴格按照 要求,質量嚴格把關,責任到人,確保生產、銷售、服務的健康運行。加強與用戶溝通,竭誠為廣大客戶提供優質產品,至善至美服務,特此駱盈做出如下承諾:
產品標準
產品嚴格按照中國 GB、HG 標準和美國 API 等標準設計、制造、驗收。密封面硬度達到規定要求,寬度超過標準。
售前服務
產品介紹,技術交流,非標產品設計,疑難解答。
售中服務
1、守信合同,保證及時供貨,隨時保持與客戶聯系
2、對特殊或復雜的產品,我廠安排技術人員對用戶進行產品使用、故障排除、調式及維修進行培訓和指導。
售后服務
1、駱盈產品質保期為自出廠起 12 個月,實行“三包”服務(包退、包換、包修)。
2、產品在使用中我廠定期組織技術、檢查人員進行訪問,征詢用戶對產品質量、使用狀況、改進意見等方面的反饋,以便進一步提高產品質量。
3、對用戶投訴產品質量問題,快速做出反映,售后服務人員在 24-36 小時(省外 48 小時)趕赴現場。
4、對售后服務,要求用戶填寫服務后的質量反饋表,并做出鑒定意見,共同提高駱盈的產品質量與服務質量。
1、客戶采購清單請傳真至 021-64207088 E-mail:luoying@luoyingsh.com,或來電咨詢 021-62212627。
2、收到客戶采購清單,為客戶提供產品型號選型與報價(價格清單)。
3、具體商定:交貨期、特殊要求等事宜。
訂貨須知
1、客戶對產品有特殊要求,須在訂貨合同中提供以下說明:
(1)結構長度
(2)連接形式
(3)公稱直徑、全通徑、縮徑、管道尺寸
(4)用介質及溫度、壓力范圍
(5)實驗、檢驗標準及其他要求本廠可根據客戶特殊要求配置定做和設計特殊產品。
2、本廠可根據客戶特殊要求配置定做和設計特殊產品。
3、如由客戶提供確定的產品類型和型號時,客戶應正確說明其型號的含義和要求,在供需雙方理解一致的條件下簽訂合同。
您也可以聯系在線客服